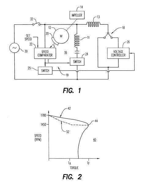
Food Processor Circuit Diagram

Food Processor Circuit Diagram. A page 5 of 6. Food processing organizational structural plans;

REGAL WARE FOOD PROCESSOR Parts Model LM2 Sears PartsDirect
REGAL WARE FOOD PROCESSOR Parts Model LM2 Sears PartsDirect from www.searspartsdirect.com

Making chart drawing of food production; Food processing flow chart symbols;. Download high quality processor clip art graphics.

Download High Quality Processor Clip Art Graphics.


A page 6 of 6. Web fm receiver circuit schematic. Web flow chart of food processing ;

Circuit Diagram Circuit Diagram Food Processor Lc8900 Issue:


Web piping and instrumentation diagram software | process flowchart. Food processing organizational structural plans; Web circuit diagram this area is a growing library of the schematics, wiring diagrams and technical photos.

A Page 5 Of 6.


Web how to use a food processor step by kitchenaid. Our article will give the block diagram of this circuit,. I just finished taking an embedded systems course that was mainly centered around software.

Okay So I Have A Food Processor Motor But I Cant Find A Wiring Diagram And Would Need Help How To Wire It To Work As A Generator Or Just As A On.


Web discover st's solutions and ics for your multifunction food processor and robot kitchen aid designs, including motor control, power management, microcontrollers and sensors. Web the fm transmitter circuit diagram is pertinent to explaining how radio waves travel and the general principle of fm radios. Web download 214 cuisinart food processor pdf manuals.

Web This Is A Circuit Diagram Of The Fm Transmitter Which Constructed Very Easily.


Learning new top 2 electronic collage project flower. User manuals, cuisinart food processor operating guides and service manuals. Web may 20, 2020.